
图片来源于网络,如有侵权,请联系删除
证券之星消息,根据天眼查APP数据显示海尔智家(600690)新获得一项实用新型专利授权,专利名为“用于空调器的风道组件及一体式空调器”,专利申请号为CN202421892772.6,授权日为2025年7月18日。
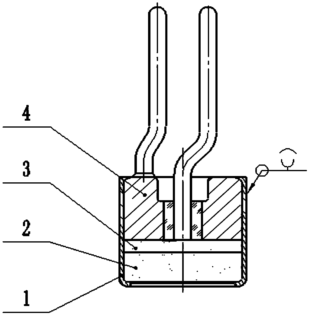
专利摘要:本实用新型涉及家用电器技术领域,特别是涉及一种用于空调器的风道组件及一体式空调器。该风道组件包括:电机支架,电机支架具有底板,底板上设置有沿竖向方向延伸的至少一个定位部,定位部用于在安装电机支架时将电机支架定位在空调器的底座上;底板上还可形成有沿竖向方向延伸的至少一个竖向孔,用于将电机支架以竖直向上插入紧固件的方式安装在底座上。本实用新型的风道组件在电机支架的底板上设置有沿竖向方向延伸的竖向孔,以供紧固件从风道组件的底部自下而上装入,以将电机支架以底向固定的方式安装在空调器的底座上,解决了由于电机支架顶部设有其他部件导致的顶向固定不方便的问题,提高了安装的便捷性,从而提高了安装效率。
今年以来海尔智家新获得专利授权3005个,较去年同期减少了19.65%。结合公司2024年年报财务数据,2024年公司在研发方面投入了107.4亿元,同比增3.47%。
通过天眼查大数据分析,海尔智家股份有限公司共对外投资了58家企业,参与招投标项目1687次;财产线索方面有商标信息357条,专利信息62623条,著作权信息53条;此外企业还拥有行政许可10个。
数据来源:天眼查APP
以上内容为证券之星据公开信息整理,由AI算法生成(网信算备310104345710301240019号),不构成投资建议。
