
图片来源于网络,如有侵权,请联系删除
证券之星消息,根据天眼查APP数据显示京东方A(000725)新获得一项发明专利授权,专利名为“显示基板及其制备方法、显示面板”,专利申请号为CN202111088853.1,授权日为2025年7月18日。
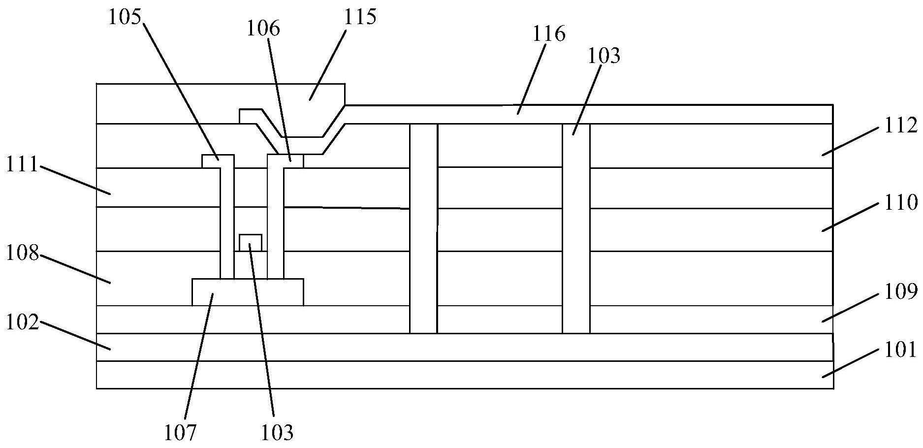
专利摘要:一种显示基板及其制备方法、显示面板,显示基板包括第一显示区,所述第一显示区包括多个第一子像素以及位于所述多个第一子像素之间的透光区域,所述第一子像素包括像素电路,所述像素电路包括多条信号线;在所述第一显示区的透光区域中,至少部分信号线的材料采用透明走线;在所述第一显示区的透光区域以外的区域,至少部分信号线的材料采用金属走线。本公开能够更好地实现高频显示。
今年以来京东方A新获得专利授权2128个,较去年同期减少了0.98%。结合公司2024年年报财务数据,2024年公司在研发方面投入了131.23亿元,同比增15.94%。
数据来源:天眼查APP
以上内容为证券之星据公开信息整理,由AI算法生成(网信算备310104345710301240019号),不构成投资建议。
