
图片来源于网络,如有侵权,请联系删除
证券之星消息,根据天眼查APP数据显示南网能源(003035)新获得一项发明专利授权,专利名为“一种光伏电站有效发电利用小时数测量系统及方法”,专利申请号为CN202010253149.6,授权日为2025年7月18日。
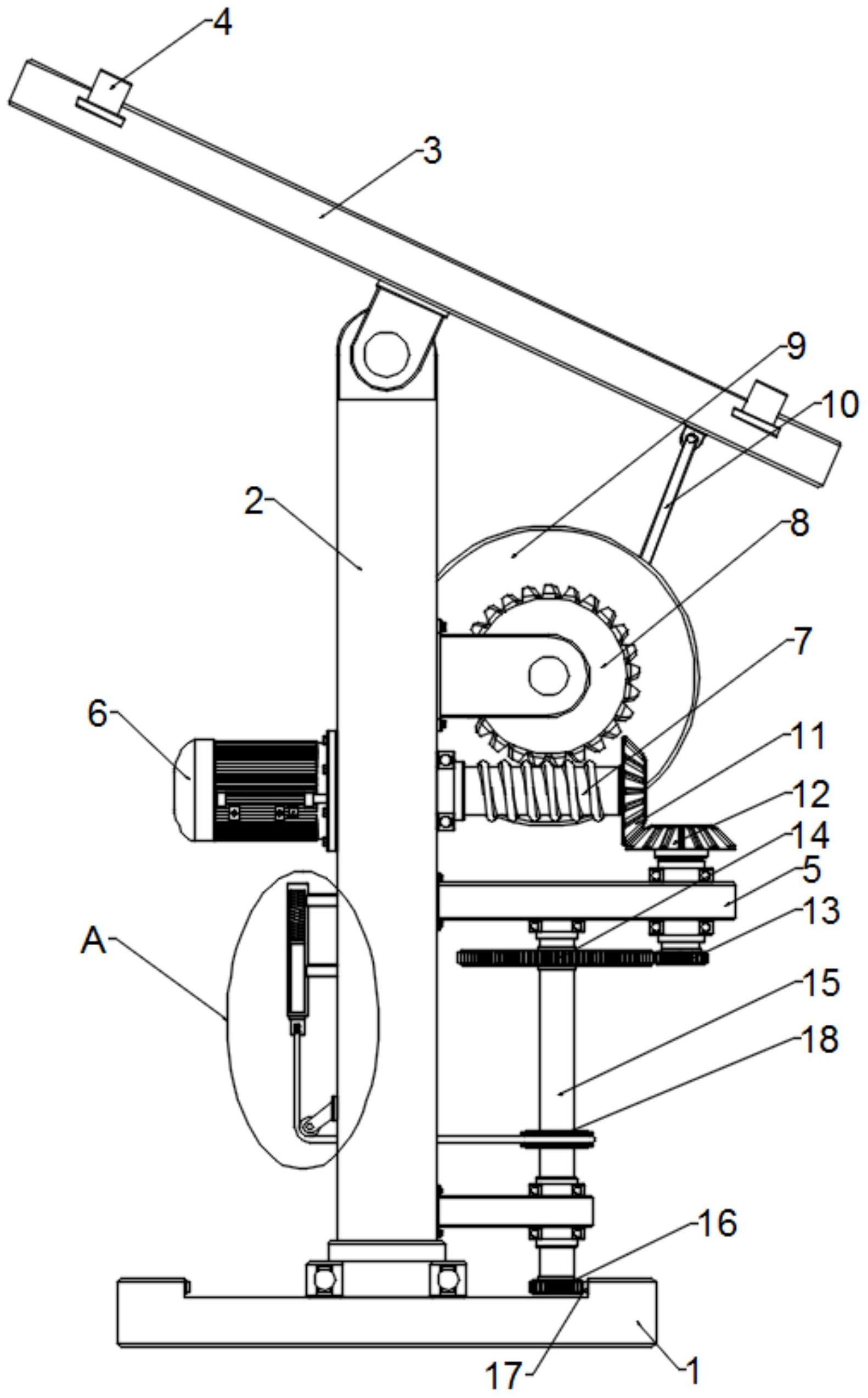
专利摘要:本发明公开了一种光伏电站有效发电利用小时数测量系统及方法,其系统包括:并网发电计量系统,用于根据光伏组串产生的发电量计算出实际有效发电利用小时数;自动清洗系统,用于利用光伏组串产生的电能对光伏组串的清洗;所述自动清洗系统包括:自动清洗电控箱,用于根据控制程序驱动清洗装置;清洗装置,用于完成对光伏组串的清洗;所述并网发电计量系统包括:光伏组串,用于将光能转化为电能;光伏配电箱,用于获取所述电能,并计算对应光伏组串的状态参数,根据所述状态参数测算出光伏组串的实际有效发电利用小时数。本发明的系统及方法便于运维的同时测试数据更精确更稳定,可广泛应用于光伏发电技术领域。

图片来源于网络,如有侵权,请联系删除
今年以来南网能源新获得专利授权5个,较去年同期减少了16.67%。结合公司2024年年报财务数据,2024年公司在研发方面投入了2849.87万元,同比减22.86%。
通过天眼查大数据分析,南方电网综合能源股份有限公司共对外投资了44家企业,参与招投标项目9099次;财产线索方面有商标信息38条,专利信息124条,著作权信息54条;此外企业还拥有行政许可54个。
数据来源:天眼查APP
以上内容为证券之星据公开信息整理,由AI算法生成(网信算备310104345710301240019号),不构成投资建议。
