
图片来源于网络,如有侵权,请联系删除
证券之星消息,根据天眼查APP数据显示中航光电(002179)新获得一项发明专利授权,专利名为“一种母端连接器及连接器组件”,专利申请号为CN202211041245.X,授权日为2025年7月22日。
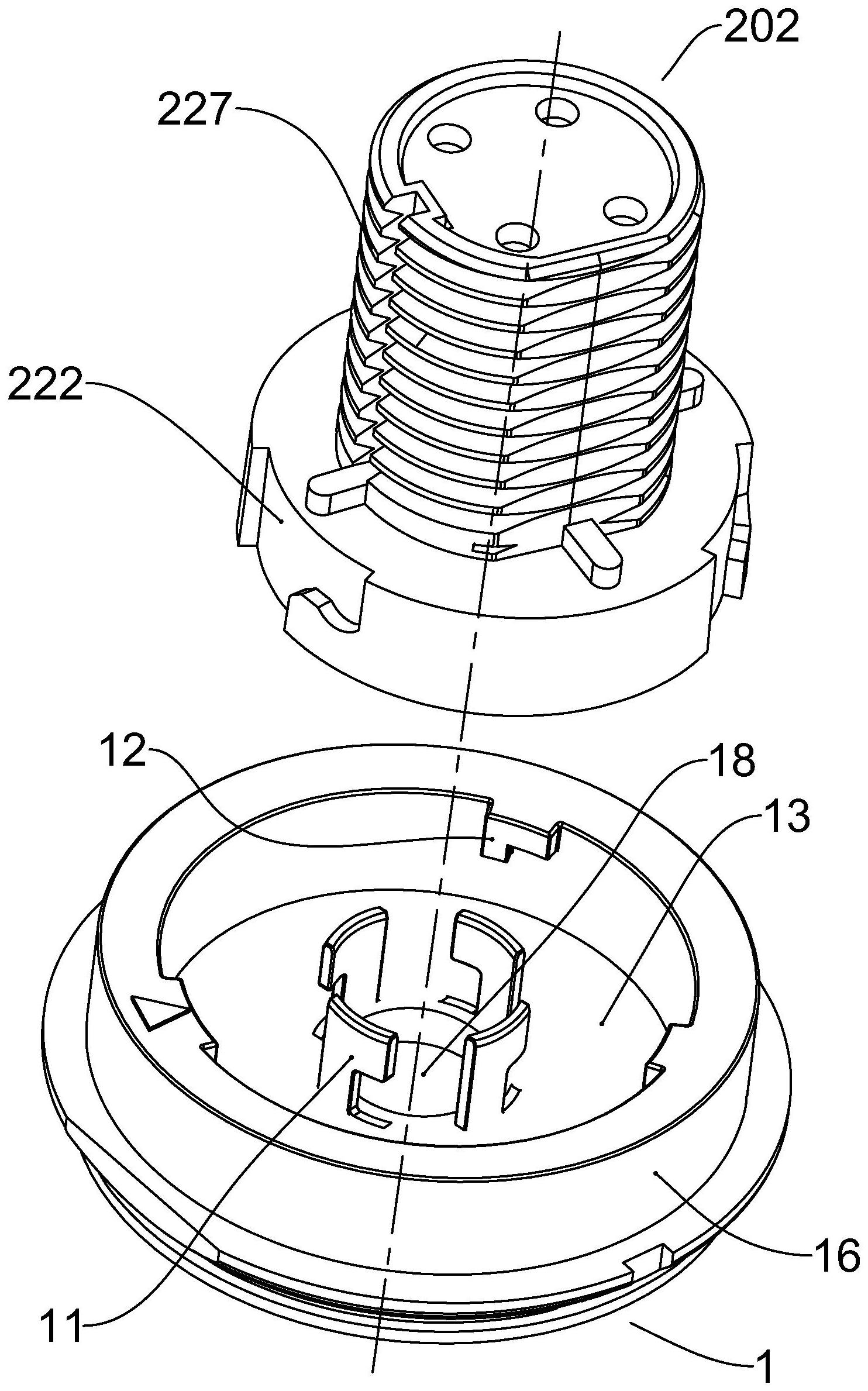
专利摘要:本发明涉及导电连接技术领域,具体涉及一种母端连接器及连接器组件,连接器组件包括母端连接器和公端连接器,母端连接器包括母端屏蔽和母端接触件,母端屏蔽包括母端插合腔,母端接触件位于母端插合腔内,母端屏蔽还包括设置在母端插合腔内的内屏蔽体,内屏蔽体包括上屏蔽部和/或下屏蔽部,上屏蔽部用于与公端上屏蔽接触导通,下屏蔽部用于与公端下屏蔽接触导通,上侧的串扰信号可通过公端上屏蔽、内屏蔽体的上屏蔽部、母端插合腔的上腔壁导走,下侧的串扰信号可通过公端下屏蔽、内屏蔽体的下屏蔽部、母端插合腔的下腔壁导走,传导路径短,有利于提高屏蔽效果。

图片来源于网络,如有侵权,请联系删除
今年以来中航光电新获得专利授权152个,较去年同期减少了6.17%。结合公司2024年年报财务数据,2024年公司在研发方面投入了22.52亿元,同比增2.48%。
通过天眼查大数据分析,中航光电科技股份有限公司共对外投资了13家企业,参与招投标项目6035次;财产线索方面有商标信息53条,专利信息4706条,著作权信息25条;此外企业还拥有行政许可496个。
数据来源:天眼查APP
以上内容为证券之星据公开信息整理,由AI算法生成(网信算备310104345710301240019号),不构成投资建议。
