
图片来源于网络,如有侵权,请联系删除
证券之星消息,根据天眼查APP数据显示海鸥住工(002084)新获得一项外观设计专利授权,专利名为“水龙头(Maggie麦吉)”,专利申请号为CN202530054366.6,授权日为2025年10月17日。
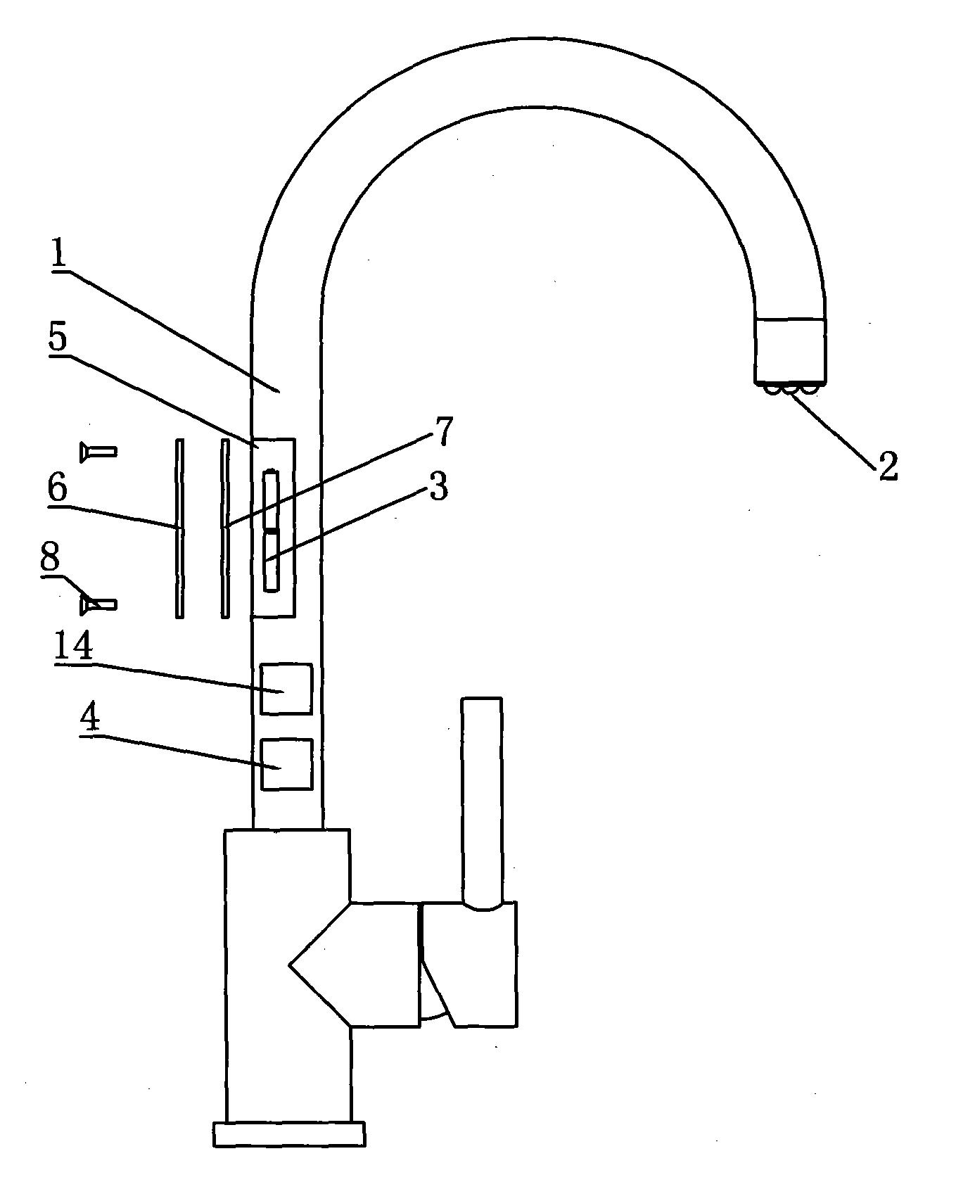
专利摘要:1.本外观设计产品的名称:水龙头(Maggie 麦吉)。2.本外观设计产品的用途:本外观设计产品用于控制水流的打开和关闭,并调节水温。3.本外观设计产品的设计要点:在于形状。4.最能表明设计要点的图片或照片:立体图。

图片来源于网络,如有侵权,请联系删除
今年以来海鸥住工新获得专利授权55个,较去年同期增加了27.91%。结合公司2025年中报财务数据,今年上半年公司在研发方面投入了4298.78万元,同比增3.42%。
通过天眼查大数据分析,广州海鸥住宅工业股份有限公司共对外投资了34家企业,参与招投标项目19次;财产线索方面有商标信息110条,专利信息590条,著作权信息8条;此外企业还拥有行政许可119个。
数据来源:天眼查APP
以上内容为证券之星据公开信息整理,由AI算法生成(网信算备310104345710301240019号),不构成投资建议。
