
图片来源于网络,如有侵权,请联系删除
证券之星消息,根据天眼查APP数据显示柳 工(000528)新获得一项实用新型专利授权,专利名为“一种钻机液压系统及钻机”,专利申请号为CN202422767876.0,授权日为2025年10月24日。
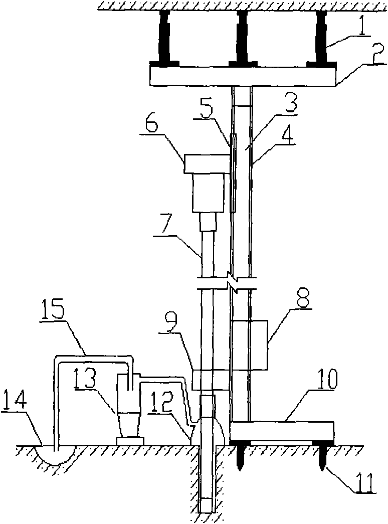
专利摘要:本实用新型属于钻机技术领域,公开了一种钻机液压系统及钻机,钻机液压系统包括第一液路、第二液路和连通液路,第一液路包括第一泵、第一工作阀和推进马达,第一泵的回油口连通第一工作阀的进油口,第一工作阀的工作油口a1连通推进马达的进油端,第二液路包括第二泵、第二工作阀和回转马达,第二泵的回油口连通第二工作阀的进油口,第二工作阀的工作油口b1连通回转马达的进油端,连通液路包括连通油管、溢流阀和单向阀,溢流阀和单向阀均设于连通油管上;钻机包括上述的钻机液压系统,还包括通过行星减速机与回转马达相连接的钻头。本实用新型提供的钻机液压系统及钻机,有效提升能量利用率,降低油耗,减少液压系统的发热量。

图片来源于网络,如有侵权,请联系删除
今年以来柳 工新获得专利授权208个,较去年同期增加了77.78%。结合公司2025年中报财务数据,今年上半年公司在研发方面投入了6.08亿元,同比增25.63%。
通过天眼查大数据分析,广西柳工机械股份有限公司共对外投资了39家企业,参与招投标项目1225次;财产线索方面有商标信息88条,专利信息2890条,著作权信息150条;此外企业还拥有行政许可516个。
数据来源:天眼查APP
以上内容为证券之星据公开信息整理,由AI算法生成(网信算备310104345710301240019号),不构成投资建议。
