
图片来源于网络,如有侵权,请联系删除
证券之星消息,根据天眼查APP数据显示格力电器(000651)新获得一项实用新型专利授权,专利名为“一种均气挡液装置、冷凝器及空调”,专利申请号为CN202520864032.X,授权日为2026年4月21日。
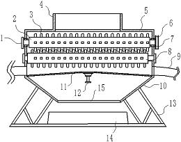
专利摘要:本实用新型提供了一种均气挡液装置、冷凝器及空调,涉及冷凝器技术领域,解决了挡液装置结构不合理,影响换热效果的技术问题。该均气挡液装置,包括上均气板、挡液板、下均气板、过气组件;上均气板布置在上方冷凝管处,用于对进入的气态冷媒进行均匀扩散;挡液板设置在上均气板下方,以对冷凝的迁移滴液进行阻挡;下均气板设置在挡液板下方,并位于下方冷凝管处,用于对气态冷媒进行均匀扩散;过气组件设置在上均气板和下均气板之间,用于气态冷媒的输送。本实用新型能使从进气口进入的气态冷媒从上方均匀下沉,使冷凝管各部分均能充分参与换热,且在避免液态冷媒影响下方冷凝管的同时使下方冷凝管能与气态冷媒充分接触,参与换热。
今年以来格力电器新获得专利授权2166个,较去年同期增加了26.59%。结合公司2025年中报财务数据,2025上半年公司在研发方面投入了39.18亿元,同比增10.92%。
通过天眼查大数据分析,珠海格力电器股份有限公司共对外投资了98家企业,参与招投标项目34142次;财产线索方面有商标信息8674条,专利信息121605条,著作权信息300条;此外企业还拥有行政许可928个。
数据来源:天眼查APP
以上内容为证券之星据公开信息整理,由AI算法生成(网信算备310104345710301240019号),不构成投资建议。
